


廣告宣傳燈箱制作技術說明
廣告傳媒是通過市場流通手段、以商品為載體,能夠以最小的成本、最快的速度、極其精準的達到目標受眾,能夠使廣大群眾更直觀的去了解,而宣傳燈箱是迅速發展起來的一種新型的燈箱,它應用獨特的導光板技術,使用普通熒光燈管或LED等作為光源進行宣傳。
現有的燈箱有些是設置在戶外的,當遇到陰雨天氣的時候燈兩側的透氣孔容易進水,造成燈箱內部的線路短路,維修費用高,同時在陰雨大風天氣容易起風,造成穩定性不足,在風速過大時容易傾倒損壞,于是,有鑒于此,針對現有的結構及缺失予以研究改良,提供抗風的廣告傳媒用戶外宣傳燈箱,以期達到更具有更加實用價值性的目的。

廣告宣傳燈箱結構與制作工藝
為了解決上述技術問題,本發明提供一種抗風的廣告傳媒用戶外宣傳燈箱,由以下具體技術手段所達成:
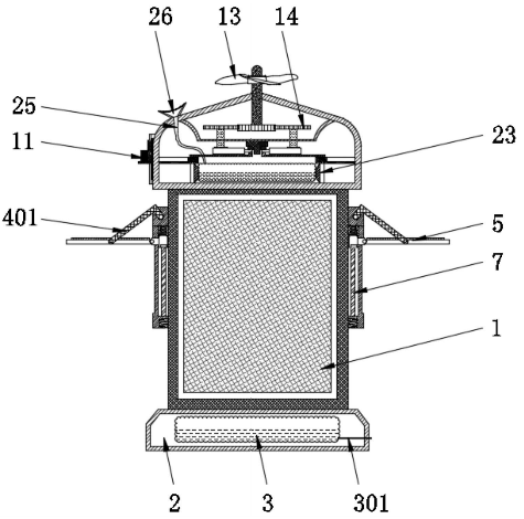
一種抗風的廣告傳媒用戶外宣傳燈箱,包括燈箱,所述燈箱的底部固定安裝有底座,所述底座的內部設置有加重囊,所述加重囊的右表面固定安裝有針管,所述燈箱的左右兩側表面均固定安裝有固定座,所述固定座的前后表面活動安裝有輔助架,所述輔助架的末端活動安裝有擋水板
所述擋水板的左端活動連接在移動塊的表面,所述移動塊滑動安裝在滑桿的表面,所述滑桿固定安裝在固定座,所述固定座的底端內部設置有線圈,所述線圈的上方且在移動塊的內部設置有相對應的磁鐵,所述燈箱的上表面固定安裝有遮雨罩

所述遮雨罩的左表面固定安裝有殼體,所述殼體的內部滑動安裝有底板,所述底板的上表面固定安裝有海綿塊,所述底板和殼體的連接處設置有可變電阻,所述可變電阻的表面且在底板表面設置有與其對應的金屬片,所述遮雨罩的內部中心處轉動安裝有轉動軸,所述轉動軸的頂部固定安裝有扇葉
所述轉動軸的底端與連桿之間通過齒輪相互嚙合,所述連桿的底端固定安裝有轉板,所述轉板內部固定安裝有壓縮彈簧,所述壓縮彈簧的末端固定安裝有支桿,所述支桿的上表面轉動安裝有滾輪,且支桿的下表面活動連接有連接架,所述滾輪的表面貼合有限位板,所述連接架的末端滑動安裝在支撐板的內部,且連接架的末端下表面固定安裝有壓板,相鄰所述壓板之間設置有儲水囊,所述儲水囊的后表面固定連接有輸水管,所述輸水管的頂端固定連接有導水簡。

進一步的,所述線圈頂端產生的磁極與相對面磁鐵的磁極相反,所述線圈與之間電性連接,在海綿塊吸水后,通過底板在殼體的內部移動來調節金屬片與可變電阻的位置,進一步調節可變電阻連入電路的電阻值,從而調節同可變電阻串聯的線圈內的電流,保證線圈產生的磁場吸附磁鐵,帶動擋水板進行恢復遮擋住燈箱表面的透氣孔。
編輯:2020-11-23 被訪問:1903次 零貳捌網絡部



